?!DOCTYPE html PUBLIC "-//W3C//DTD XHTML 1.0 Transitional//EN" "http://www.w3.org/TR/xhtml1/DTD/xhtml1-transitional.dtd">

球Ş补偿器的安装方式
1、直U管D能充分发挥球Ş补偿器补偿能力大的特炏V根据管子规g子的刚性,可将道两端固定支架的距d?0m~70mQ安装一l球形补偿器Q其安装方式可以水^安装Q也可以垂直安装?br/>2、由于这U型式其折屈角值增大一倍,可羃短球心距Q充分发挥球形补偿器的补偿能力。此U型式适用于将球Ş补偿器设在两个固定支架两端,M端固定支架近点的地方?br/>3、双向式安装适用于球形补偿器讑֜两固定点两端Q较为适中的位|,量使AD늮道长度与BD늮道长度相接近或距R这U安装方式适用于长距离直线道Q可采用水^面安装,亦可采用垂直安装?/p>
球Ş补偿器是解决道热胀L的一U设备,可广泛应用于冉、石沏V化工、电力、轻工、hl、徏{和国防{行业中Q具体用途如?Q?br/>1、用于热力管道中Q补偿热膨胀Q其补偿能力为“冂”补偿器?-10倍?br/>2、用于火发台、飞机排气设施上Q补偿冲击膨胀?br/>3、用于冶金设备(如高炉、{炉、电炉、加热炉{)的汽化冷却系l中Q作万向接头用?br/>4、用于徏{物的各U管道中Q防止因地基产生不均匀下沉、或地震{意外原因对道产生破坏?/p>
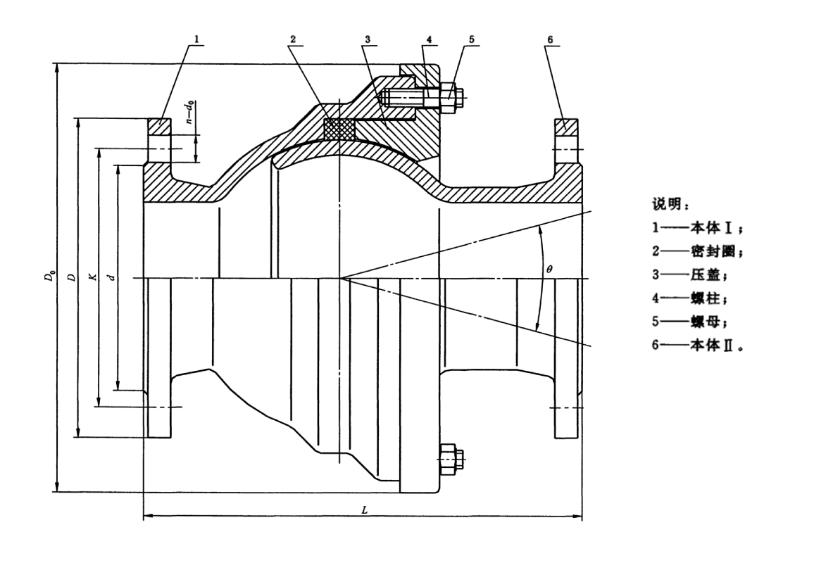
公称通径 QN | 法兰q接寸 | 密封?/strong> | 外Ş寸 | 可挠量?/strong> QoQ?/span> | 质量 kg | |||||||||
法兰外径 D | 螺栓孔中心圆直径K | 螺栓 孔径 d0 | 螺栓 | 压盖外径 D0 | 总长 L | |||||||||
| nQ个Q?/span> | Th | |||||||||||||
100 | 210 | 170 | 18 | 4 | M16 | 148 | 282 | 290 | 15 | 42 | ||||
150 | 265 | 225 | 8 | 202 | 346 | 320 | 69 | |||||||
200 | 320 | 280 | 258 | 410 | 382 | 95 | ||||||||
250 | 475 | 335 | 12 | 312 | 464 | 410 | 130 | |||||||
300 | 440 | 395 | 22 | M20 | 365 | 535 | 430 | 175 | ||||||
350 | 490 | 445 | 415 | 607 | 470 | 237 | ||||||||
400 | 540 | 495 | 16 | 465 | 668 | 550 | 297 | |||||||
450 | 595 | 550 | 520 | 728 | 600 | 348 | ||||||||
500 | 645 | 600 | 20 | 570 | 798 | 689 | 410 | |||||||
600 | 755 | 705 | 26 | M24 | 670 | 918 | 725 | 615 | ||||||
700 | 860 | 810 | 24 | 775 | 1056 | 800 | 770 | |||||||
800 | 975 | 920 | 30 | M27 | 800 | 1160 | 893 | 936 | ||||||
900 | 1075 | 1020 | 980 | 1310 | 920 | 1345 | ||||||||
1000 | 1175 | 1120 | 28 | 1080 | 1443 | 975 | 1713 | |||||||
1200 | 1405 | 1340 | 33 | 32 | M30 | 1295 | 1693 | 1125 | 13 | 2218 | ||||
| 1400 | 1630 | 1560 | 36 | 36 | M33 | 1510 | 1942 | 1290 | 3463 | |||||
| 1600 | 1830 | 1760 | 40 | 1710 | 2164 | 1385 | 3603 | |||||||
| 1800 | 2045 | 1970 | 39 | 44 | M36 | 1920 | 2400 | 1580 | 10 | 4473 | ||||
| 2000 | 2265 | 2180 | 42 | 48 | M39 | 2125 | 2730 | 1870 | 5578 | |||||
| 2200 | 2475 | 2390 | 52 | 2335 | 2910 | 1950 | 6612 | |||||||
| 2400 | 2685 | 2600 | 56 | 2545 | 3135 | 2080 | 7623 | |||||||
如需最新数据请联系在线客服
沛_良众业有限公司 手机P18638277136 Q?371-64018718 传真Q?nbsp;0371-64018718 邮箱Q?50165323@qq.com 地址Qm义市西村镇西?nbsp; |址Q?a href="http://m.effiliates.cn" target="_self">http://m.effiliates.cn